
Three-dimensional displays
Early in 1931, Baird filed a British patent (No. 373,196) on a method of imaging three-dimensional television. This was a departure from the usual technique of showing images on a screen in two dimensions and depending on special glasses or lenses to give the viewer the illusion of three dimensions. The patent specified a transparent-sided chamber containing an array of lights, or a translucent fluid, in which a three-dimensional image could be formed and viewed.
This patent was overlooked until recently. Dr. Barry Blundell, a former Associate Professor of Computer Science at the University of the Virgin Islands, includes it in his new book entitled Computer design in Three Dimensions.
Book Review by Malcolm Baird first published in NBTVA Newsletter, April 2007
Enhanced Visualization: Making Space for 3-D Images
Barry G. Blundell
ISBN: 978-0-471-78629-0
Published in Hardcover by Wiley-Interscience, 448 pages, March 2007
UK List Price £58.95.
The recent history of television is one of change and struggle. A great industry and its millions of customers are struggling to adapt to technical advances such as the huge increase in channels available, large screens and HDTV. However there is one major advance in television, dating back nearly 80 years, which has yet to reach the public. Stereoscopic (3-D) television is used only in special applications such as flight training, medical imaging, automotive design and military applications. The time must eventually come when it will be available to the home viewer.
3-D moving images (film or television) are usually shown on a flat (2 dimensional) screen with some additional device to give the viewer an illusion of depth. This can take the form of special polarized or coloured glasses worn by the viewer. For a few years in the 1950s, stereo films were shown in which two slightly different views of the scene were shown on the same screen; one in red and one in blue-green. Public interest in this technique did not last, possibly because viewers could not be bothered with the peculiar-looking glasses. Another limitation of this system was that the viewer could not �look round� the objects on the screen; the viewpoint was only that of the two stereo cameras located a few inches from each other.
This book focuses on the alternative possibility, namely 3-D Imaging, which is the showing of a television image itself in 3 dimensions so that it can be viewed without special glasses or lenses and the viewer can look at the image from different angles.
Barry Blundell obtained his Ph.D. in physics at the University of Manchester about 20 years ago and he was formerly Associate Professor of Computer Science at the University of the U.S. Virgin Islands. His book takes a scholarly approach, going back to the writings of Leonardo da Vinci and the Renaissance artists' first use of perspective to depict three-dimensional subjects on a flat surface. In the early Victorian era, science begins to have an impact. In Wheatstone's stereoscope a pair of still photographs, taken from slightly different positions, can be viewed by two lenses to give the illusion of depth.
These ideas are simple and in great contrast to the most recent developments in 3-D television which are described in the later chapters of the book. These modern developments depend heavily on computers and digital technology to process the huge amounts of information needed. The term "pixel", generally used for the little blobs that make up a flat screen image, is replaced by the "voxel", denoting a small element of volume in a 3-D image. Although the later chapters are well written and illustrated, they put a strain on the reader who (like me) lacks an advanced knowledge of computer science and optics.
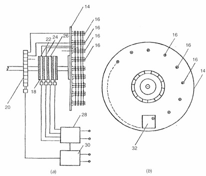
The advent of television itself comes between the Victorian technology and the computer-driven modern developments. Early television is of prime interest to members of the NBTVA who are all too familiar with the criticisms that have been levelled at mechanical television and its main originator, John Logie Baird. It came as a pleasant personal surprise that Prof. Blundell has credited Baird with the first patent for 3-D television imaging using a "swept volume" method. This little-known patent GB 373,196 (1932) was applied for in February 1931. At the receiving end, the main feature is a rotating disc with a spiral of lamp tubes extending at right angles to the disc surface and shown as items "16" in the figure. Within each glass tube there are four independent light sources spaced along the tube. Through an elaborate arrangement of commutators, light impulses are distributed to the disc and the tubes so that the viewer's persistence of vision gives an image in 3 dimensions; two in the plane of the disc and a third dimension normal to the disc, showing four depth levels. At the transmitting end, the subject is scanned from different viewpoints by means of a "flying spot" technique.
There is no record that Baird ever demonstrated his invention although he almost certainly intended to do so. However in 1931 Baird Television Ltd. became over-committed financially and it was taken over by Gaumont British Pictures in the following year. Prof. Blundell is hoping to be able to build a working model of this first 3-D television imaging system.
Baird returned to 3-D television research during World War II and took out several more patents. By this time, Baird Television Ltd. had been wound up and Baird was doing research at his own expense. In December 1941 he invited a representative from the Ministry of Supply to see what he was doing, but the only response was a frosty letter saying that his work was of no interest to the war effort and it did not warrant government support. Yet within a year, the Admiralty Signal and Radar Establishment had started a programme on 3-D imaging for radar display screens. Antony Kamm and I spotted this discrepancy in our biography John Logie Baird: a life (2002) and we are glad to see that this aspect has been taken up and elaborated by Prof. Blundell. As he says, "it is bizarre that [Baird] was excluded from such vital wartime work."
Prof. Blundell's book has been, for me, an interesting though rather challenging read. There is much to be said for bringing out a less specialised version of this book or even a DVD which could be more generally appreciated by the lay public.